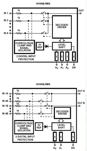
Product Summary
Parametrics
This Circuit is Processed in Accordance to MIL-STD-883 and is Fully Conformant Under the Provisions of Paragraph 1.2.1.
No Channel Interaction During Overvoltage
Guaranteed rON Matching
44V Maximum Power Supply
Break-Before-Make Switching
Analog Signal Range: ±15V
Access Time (Max): 1.0μs
Power Dissipation (Max): 45mW
Diagrams

![]() |
![]() 77050-04000400-01 |
![]() Honeywell |
![]() Board Mount Pressure / Force Sensors PRESSURE SWITCH |
![]() Data Sheet |
![]()
|
|
||||||||||||
![]() |
![]() 77050-04300430-01 |
![]() Honeywell |
![]() Board Mount Pressure / Force Sensors PRESSURE SWITCH |
![]() Data Sheet |
![]()
|
|
||||||||||||
![]() |
![]() 770512-6 |
![]() TE Connectivity / AMP |
![]() Pin & Socket Connectors UMNL PIN AU/PHBZ LP |
![]() Data Sheet |
![]()
|
|
||||||||||||
![]() |
![]() 77052012X |
![]() |
![]() IC MULTIPLEXER 8X1 20PLCC |
![]() Data Sheet |
![]()
|
|
||||||||||||
![]() |
![]() 7705201EX |
![]() |
![]() IC MULTIPLEXER 8X1 16CDIP |
![]() Data Sheet |
![]()
|
|
||||||||||||
![]() |
![]() 77053012C |
![]() Maxim Integrated Products |
![]() Analog Switch ICs DUAL SPST CMOS ANALOG SWITCHES |
![]() Data Sheet |
![]() Negotiable |
|
||||||||||||
(Hong Kong)











